RackNerd怎么样?RackNerd是一家成立于2015年的美国主机商,采用SSD固态硬盘,拥有1Gbmps的超大带宽,提供KVM 和 OpenVZ 两种类型,目前提供洛杉矶、纽约、达拉斯和亚特兰大等全球多个数据中心。前面我们对RackNerd洛杉矶、纽约和达拉斯等机房进行了评测,这篇文章我们将对RackNerd亚特兰大机房评测下。
1、性能配置和I/O

2、上传下载速度

3、全网Ping
测试IP:107.173.164.160

4、三网回程测试
电信

移动

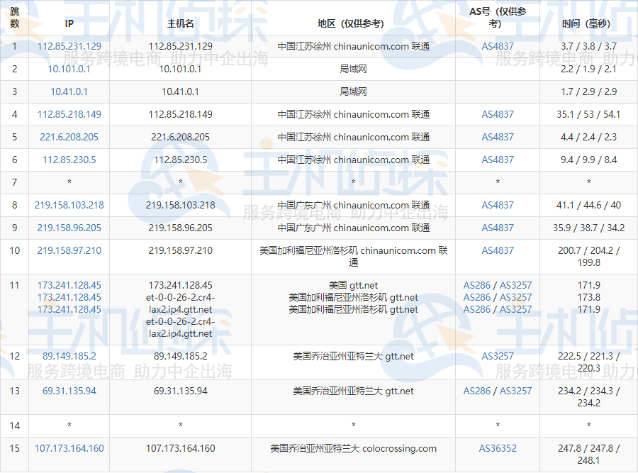
联通

5、三网去程测试
电信

移动

联通

相关推荐:
《RackNerd VPS洛杉矶DC-01机房性能和速度评测》
《美国主机商RackNerd洛杉矶DC-02机房综合性能测评》
(本文由美国主机侦探原创,转载请注明出处“美国主机侦探”和原文地址!)
微信扫码加好友进群
主机优惠码及时掌握
QQ群号:938255063
主机优惠发布与交流




